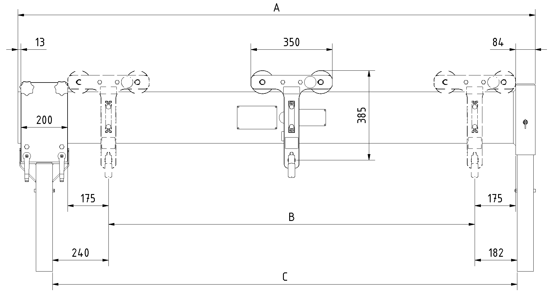
Laufkatze

Kran Klappbar & Kran Spezial Mini: Traglastreduzierung bei längeren Trägern. Traglast bis 5 m Träger (5217 mm) 1500 kg, Traglast bis 6 m Träger (6217 mm) 1000 kg, Traglast bis 8 m Träger (8217 mm) 750 kg,
Kran Fahrbar unter Last: Traglastreduzierung bei längeren Trägern. Traglast bis 5 m Träger (5217 mm) 1000 kg, Traglast bis 6 m Träger (6217 mm) 750 kg, Traglast bis 8 m Träger (8217 mm) 500 kg,
Zusätzliche Laufkatzen ermöglichen es, die zu hebende Last/-en an zwei oder mehreren Punkten auf dem Träger aufzunehmen.
Bauteile können somit sehr präzise ausgerichtet und positioniert werden.
Durch unser Baukastensystem können alle Laufkatzen mit allen Seitengestellen und allen Trägerlängen verwendet werden.

Jede Laufkatze ist für eine Last von maximal 1500 kg ausgelegt. Es ist jeweils die maximale Traglast der Seitengestelle und des Trägers zu beachten.
Die Last muss gleichmäßig aufgeteilt werden.
Beispiel für 1 Laufkatze
Träger 1500 kg Traglast
1. Laufkatze 1500 kg
Beispiel für 2 Laufkatzen
Träger 750 kg Traglast
1. Laufkatze 375 kg
2. Laufkatze 375 kg
Beispiel für 2 Laufkatzen
Träger 1000 kg Traglast
1. Laufkatze 500 kg
2. Laufkatze 500 kg
Beispiel für 3 Laufkatzen
Träger 1500 kg Traglast
1. Laufkatze 500 kg
2. Laufkatze 500 kg
3. Laufkatze 500 kg
Technische Daten zu Laufkatze
Artikelnummer: 222000
Traglast: max. 1500 kg
Die Traglast richtet sich nach der Trägerlänge und der Tragfähigkeit der Seitengestelle.
Eigengewicht: ca. 9 kg
Maße und Verfahrweg der Laufkatze
